Quando il New Glenn di Blue Origin è tornato in azione per portare le sonde EscaPADE (Escape and Plasma Acceleration and Dynamics Explorers) verso Marte, non è stato solo un lancio qualsiasi: è stata una piccola rivoluzione tecnica. Vediamo insieme cosa è successo, dal decollo, al fissaggio al suolo, fino al viaggio delle due missioni gemelle verso il Pianeta Rosso.
Decollo del New Glenn: la partenza delle sonde marziane
Dopo l’annullamento del lancio del 9/11 e lo stop al secondo tentativo previsto il 12, a causa di una forte tempesta solare, finalmente, con quasi un’ora di ritardo sull’orario previsto, Il grande momento è arrivato. Da Cape Canaveral, alle ore 21:55 italiane, il razzo New Glenn è decollato con i suoi sette motori a methalox BE-4. Circa tre minuti dopo la separazione del primo stadio e l’accensione del secondo che ha continuato la salita per rilasciare le due sonde gemelle della missione EscaPADE. Mi soffermo un attimo per ringraziare il pubblico, sempre numeroso ed attento, che ci ha accompagnato quasi due ore nella diretta del 9, conclusasi con l’annullamento del lancio, ed in quella di ieri.
I due veicoli interplanetari, chiamati Blue e Gold, sono state progettate per studiare la magnetosfera di Marte e i processi che hanno portato alla perdita della sua atmosfera. Ma non andranno immediatamente verso il loro obiettivo: dopo il lancio, sono state messe in un’orbita di “attesa” attorno alla Terra, in uno dei Punti Lagrangiani in attesa che si apra la finestra giusta per il trasferimento verso il Pianeta Rosso.
L’atterraggio del primo stadio: una stretta davvero… energetica
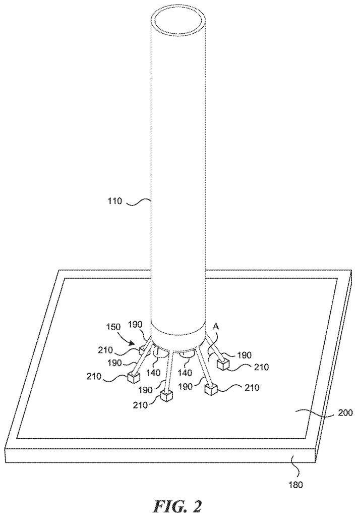
Uno dei momenti più esaltanti è stato il ritorno del primo stadio. Il New Glenn è tornato sulla piattaforma galleggiante chiamata Jacklyn, nell’Oceano Atlantico. Abbiamo forse notato dei piccoli lampi intorno al primo stadio dopo lo spegnimento del motore, ecco fanno parte di qualcosa di davvero ingegnoso: un sistema brevettato da Blue Origin che usa un meccanismo di ancoraggio istantaneo, detto Energy Welding, descritto nel brevetto US20240092508A1.

Vediamo di che si tratta. Sulle gambe di atterraggio del booster ci sono dei meccanismi di fissaggio: all’interno hanno un barrel (un tubo) e un perno (“stud”). Quando il booster tocca la piattaforma e viene stabilizzato, si attiva un materiale “energetico” all’interno del barrel. Questo materiale genera un impulso che spinge il perno fuori, fino a incastrarsi nella piastra della piattaforma. Il perno non si limita a infilarcisi: grazie al design dell’interfaccia (una zona chiamata “interference portion”), si blocca saldamente. Secondo il brevetto, può formarsi una sorta di legame meccanico che ricorda una “saldatura a freddo” (“cold-weld”) con la piastra.Per evitare che il colpo di spinta danneggi il razzo o la piattaforma, il barrel è progettato per assorbire il rinculo: ha una corsa verso l’alto e elementi plastici che dissipano l’energia residua.
Questo sistema è cruciale perché consente un fissaggio rapido, sicuro e robusto, anche se la piattaforma si muove o se ci sono onde o vento. Non serve aspettare manovre manuali: il booster “si inchioda” praticamente da solo. In più, è un punto a favore della riutilizzabilità: fissare il primo stadio in maniera stabile permette di recuperarlo in modo più efficiente.

Le sonde ESCAPADE: un viaggio “a tappe” verso Marte
Dopo il rilascio da parte del secondo stadio, le due sonde EscaPADE sono entrate in orbita terrestre (o quasi): come detto, vanno in attesa, perché l’allineamento Marte-Terra non è ancora perfetto.
Quando la finestra di lancio giusta si aprirà (a quanto sembra nell’autunno 2026), le sonde useranno una manovra di assistenza gravitazionale con la Terra per guadagnare energia verso Marte. Raggiungeranno Marte e poi si separeranno: la loro strategia “in formazione stereo” permetterà di fare misurazioni sincronizzate sulla magnetosfera, il vento solare e come le particelle cariche interagiscono con il campo magnetico marziano. L’obiettivo scientifico? Scoprire i meccanismi con cui Marte ha perso parte della sua atmosfera, un tema che ha implicazioni anche per capire come proteggere future missioni umane su Marte.

Perché tutto questo è un grande (e utile) passo avanti
Questo volo rappresenta un salto doppio: Tecnologico perché il meccanismo di “welding energetico” è un’idea rivoluzionaria per il fissaggio, che potrebbe rendere il riutilizzo dei razzi più stabile, sicuro e rapido; Scientifico in quanto la missione ESCAPADE è relativamente economica, ma va a studiare fenomeni fondamentali per la storia di Marte, come la perdita dell’atmosfera, che è cruciale per l’esplorazione futura.
